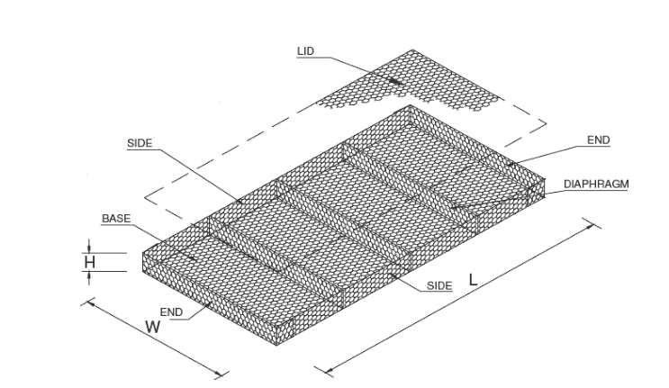
SECURE GABION MATRESSES
The Secure Gabion Revet Mattress is a durable, interlocking containment system made from mechanically woven, double-twisted hexagonal steel wire mesh. It is an ideal solution for stabilizing wide or shallow areas such as riverbeds, coastal zones, and slopes. Designed to blend naturally into the environment, it offers long-term structural stability while minimizing visual impact. The galvanized and Polymer-coated surface ensures high corrosion resistance, making it suitable for industrial, agricultural, and defence applications.
| Sr. No. | Characteristics | Mesh Type 6x8 D=60 mm |
|||||
|---|---|---|---|---|---|---|---|
| Only Zinc / Zinc Alloy2) coated | Zinc / Zinc Alloy2) + Polymer coated | ||||||
| 1 | Mesh wire dia, mm | 2.20 | 2.20/3.20¹ | ||||
| 2 | Edge/Selvedge wire dia, mm | 2.70 | 2.70/3.20¹ | ||||
| 3 | Lacing wire dia, mm | 2.20 | 2.20/3.20¹ | ||||
| 4 | Polymer coating thickness, mm | NA | Nominal - 0.50, Minimum - 0.40 | ||||
| 5 | Typical Sizes Length × Width × Height (m) (Number of diaphragms) |
4 × 1 × 1 (3 Nos.), 3 × 1 × 1 (2 Nos.), 2 × 1 × 1 (1 No.), 1.5 × 1 × 1 (0 No.), 2 × 1 × 0.5 (1 No.), 3 × 1 × 0.5 (2 Nos.), 4 × 1 × 0.5 (3 Nos.), 2 × 1 × 0.3 (1 No.), 3 × 1 × 0.3 (2 Nos.), 4 × 1 × 0.3 (3 Nos.) |
|||||
| 6 | Tolerances in size of gabion boxes | Length and Width ±5 percent; Height > 0.3 m ±5 percent and Height < 0.3 m ±10 percent | |||||
|
1) Internal diameter / External diameter of polymer coated wire. 2) Zinc Alloy shall consist of 90% Zinc + 10% Aluminium or 95% Zinc + 5% Aluminium. |
|||||||